- بررسی اجمالی
- محصولات پیشنهادی
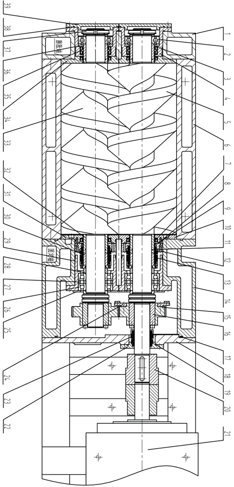
شرح اصل کار پمپ مارپیچ پمپ خلاء
پمپ خلاء پیچ یک دستگاه استخراج هوا است که از یک جفت پیچ برای ایجاد مکش و تخلیه هوا به دلیل چرخش معکوس سریع و همزمان در بدنه پمپ استفاده میکند. از آنجا که فاصلهای مشخص بین پیچها وجود دارد، هیچ گونه اصطکاکی بین آنها رخ نمیدهد، عملکرد پایدار است، صدای کمی تولید میکند و محفظه کار نیازی به روغن روانکننده ندارد. بنابراین، پمپ خشک پیچ قادر است گازهای حاوی بخار آب و مقدار کمی گرد و غبار را بیرون بزند. کاربردهای صنعتی: فشار نهایی پمپ خلاء پیچ LGB میتواند به 5 پاسکال برسد و به طور گسترده در صنایع شیمیایی، متالورژی، الکترونیک، نفت، هوافضا، ابزارآلات، کاغذسازی، بستهبندی، مواد غذایی، دارو، دستگاههای پزشکی، مهندسی اطلاعات، مهندسی زیستی، الکترونیک ریز و سایر زمینهها استفاده شود.
ویژگیهای پمپ مارپیچ
خالی کردن سیستم به صورت خلاء بدون استفاده از هرگونه ماده میانی در محفظه کار ممکن است.
پس از تعادل دینامیکی با دقت بالا میتواند با سرعت زیاد کار کند و اصطکاکی بین قطعات دوار وجود ندارد، بنابراین عمر طولانی دارد.
گاز در پمپ فشرده نمیشود و برای تخلیه گازهای قابل میعان مناسب است؛
یک پمپ تنها میتواند در محدوده وسیعی کار کند و از فشار جو تا کمتر از 100 پاسکال تخلیه انجام دهد.
محفظه کار و سطح روتور پیچی میتوانند حفظ شوند تا خود را با شرایط سخت تطبیق دهند.
در مقایسه با پمپ خلاء مکانیکی روغن-درزبندی، مواد قابل میعان در پمپ باقی نمیمانند، هیچ گونه انتشار روغن، بخار روغن یا مهروغن وجود ندارد و این امر آن را به گزینهای ارجح از نظر محیط زیست تبدیل میکند؛
7. در مقایسه با پمپ حلقه مایع، تنها نیاز به آب خنککننده گردشی است و گاز استخراجشده با آب در تماس نیست، بنابراین از تأثیر دمای آب بر خلأ جلوگیری میشود، بازیابی مواد آسانتر است، نیازی به تصفیه فاضلاب نیست و فشار حدی پایینتری دارد؛ درنتیجه واحد ریشه پیچشی کارآمدتر از خلأ به دست میآید.
|
مدل عملکرد |
LGB-30 | LGB-50 | LGB-70 | LGB-100 | LGB-150 | LGB-200 | LGB-300 | LGB-450 | LGB-600 | LGB-70 | LGB-100 | LGB-200 | LGB-300 |
| سرعت پمپاژ (لیتر/ثانیه) | 30 | 50 | 70 | 100 | 150 | 200 | 300 | 450 | 600 | 70 | 100 | 200 | 300 |
| فشار نهایی (پاسکال) | 5 | 5 | 5 | 5 | 5 | 5 | 5 | 5 | 5 | 5 | 5 | 5 | 5 |
| سرعت چرخشی (دور در دقیقه) | 2840 | 2920 | 2900 | 2940 | 2940 | 2980 | 2980 | 2980 | 2980 | 2900 | 2940 | 2940 | 2950 |
| اتصالات ورودی (DN) | 50 | 50 | 80 | 80 | 100 | 125 | 125 | 150 | 150 | 50 | 80 | 100 | 125 |
| اتصال های خروجی (DN) | 25 | 40 | 50 | 50 | 65 | 65 | 65 | 100 | 100 | 45 | 65 | 65 | 80 |
| سطح صدا dB(A) | ≤68 | ≤70 | ≤71 | ≤72 | ≤72 | ≤75 | ≤78 | ≤80 | ≤80 | ≤80 | ≤80 | ≤80 | ≤80 |
| افزایش دما (°C ) | ≤۴۰°C | ≤۴۰°C | ≤۴۰°C | ≤۴۰°C | ≤۴۰°C | ≤۴۰°C | ≤۴۰°C | ≤۴۰°C | ≤۴۰°C | ≤۴۰°C | ≤۴۰°C | ≤۴۰°C | ≤۴۰°C |
| سایز پمپاژ (میلیمتر) | 810X315X396 | 1120X480X720 | 1500X630X810 | 1700X630X810 | 1360X960X700 | 1650X847X933 | 1740X960X980 | 2100X1100X1030 | |||||
| وزن با روغنکاری (KG) | 160 | 320 | 380 | 400 | 800 | 1000 | 1100 | 1800 | 2000 | 500 | 665 | 1020 | 1300 |
| توان موتور (کیلووات) | 2.2 | 4 | 5.5 | 7.5 | 11 | 15 | 22 | 30 | 37 | 7.5 | 15 | 18.5 | 37 |
| ولتاژ موتور/فرکانس پایه موتور (V/Hz) | 380/50 | 380/50 | 380/50 | 380/50 | 380/50 | 380/50 | 380/50 | 380/50 | 380/50 | 380/50 | 380/50 | 380/50 | 380/50 |
| سرعت نامی موتور (rpm) | 2840 | 2920 | 2900 | 2940 | 2940 | 2980 | 2980 | 2980 | 2980 | 2900 | 2940 | 2940 | 2950 |
| جریان نامی موتور (A) | 4.8 | 8.1 | 11.1 | 14.8 | 21.6 | 28.8 | 41 | 55.5 | 67.9 | 14.8 | 28.8 | 35.5 | 67.9 |
| نوع حفاظت (IP) | IP55 | IP55 | IP55 | IP55 | IP55 | IP55 | IP55 | IP55 | IP55 | IP55 | IP55 | IP55 | IP55 |
معرفی توانمندیهای شرکت
شرکت ما یکی از بزرگترین واحدهای تولیدی تجهیزات تولید خلأ در چین است. این شرکت همواره به رویکرد کاری «حرفهای و دقیق» پایبند بوده و به طور مداوم محتوای فناوری محصولات خود را افزایش میدهد محصولات ، همچنین توسعهها و نوآوریهای محصولات. در حال حاضر، پمپهای خلاء از سری تیغهای دوار (2X، XD)، سری حلقه آبی (SZ، 2SK، SK، 2BE)، سری رفت و برگشتی (WLW)، سری روتز (ZJ) با نه اندازه مختلف، واحدهای روتز-حلقه آبی (JZJS)، واحد روتز-تیغه دوار (JZJX)، واحد پمپ روتز-رفت و برگشتی (JZJW) و سایر محصولات وجود دارند که بهطور گسترده در متالورژی، صنایع شیمیایی، داروسازی، نساجی، مواد غذایی، هوافضا، الکترونیک، تحقیقات علمی و سایر صنایع و بخشها مورد استفاده قرار میگیرند.
شرکت ما دارای نیروی فنی قوی و تیم متخصص در طراحی و ساخت تجهیزات بهدستآوردن خلأ است. علاوه بر این، روابط همکاری نزدیکی با مراکز تحقیقاتی، دانشگاهها و کالجهای داخلی و خارجی حفظ میکند و از فناوری محصولات پیشرفته، عملکرد مناسب و خدمات کامل برخوردار است. با دهها سال تجربه در تحقیق و توسعه و تولید تجهیزات بهدستآوردن خلأ، تیمی مجرب در زمینه تولید و خدمات فنی آموزش دیدهایم تا بتوانیم به کاربران خود محصولات با کیفیت بالا و خدمات عالی ارائه دهیم. ما «سادگی و راحتی» را اصل خدمات خود قرار دادهایم و از طریق تلاشهای مستمر تمامی کارکنان خود، شرکت تجهیزات خلأ سی فانگ قصد دارد بیشترین ارزش و بازدهی را برای شما ایجاد کند.
نکاتی در انتخاب پمپ خلأ
- فشار حدی پمپ خلأ باید متناسب با فشار کاری فناوری مورد نظر باشد. بهطور کلی، فشار حدی باید یک مرتبه بزرگی کمتر از الزامات فناوری باشد
- هر پمپ دارای محدوده فشار کاری مشخصی است. در نتیجه، نقطه کار پمپ باید درون این محدوده قرار گیرد. پمپ نمیتواند برای مدت طولانی خارج از فشار کاری مجاز کار کند.
- در فشار کاری، پمپ خلاء باید تمام گازهای تولید شده در حین فرآیند تکنولوژیکی را از دستگاه خلاء خارج کند.
- واحد خلاء را انتخاب کنید:
(1) هنگامی که استفاده از یک پمپ نتواند نیازهای مکش و خلاء را برآورده کند، باید چندین پمپ را ترکیب کرد تا یکدیگر را کمک کنند و در نهایت نیازهای تکنولوژیکی را برآورده سازند.
(2) برخی از پمپهای خلأ نمیتوانند در فشار جو کار کنند و نیاز به پیشخلأ دارند. فشار تخلیه برخی از پمپهای خلأ پایینتر از فشار جو است و نیاز به پمپ پشتیبان دارد؛ بنابراین، این پمپها باید به صورت ترکیبی استفاده شوند. پمپهای ترکیبی شده را واحد پمپ خلأ مینامند که باعث میشود سیستم خلأ درجه خلأ مناسب و مقدار تخلیه مناسبی داشته باشد. از آنجا که پمپهای خلأ مختلف، نیازهای متفاوتی برای گاز تخلیه شده دارند، به عنوان مثال در حالت عادی، واحد روتز-لغزان برای گازهایی که حاوی مقدار زیادی گاز قابل تراکم هستند مناسب نیست، بنابراین باید ترکیب پمپ خلأ را به درستی انتخاب کرد.
- هنگامی که پمپ درزدار روغنی را انتخاب میکنید، باید ابتدا بدانید که آیا خلأ شما به آلودگی ناشی از روغن حساس است یا خیر. اگر دستگاه به طور کامل نیازی به روغن ندارد، باید انواع پمپهای بدون روغن مانند: پمپ حلقه آبی، پمپ دمای پایین را انتخاب کنید. اگر نیاز سختگیرانهای نیست، میتوانید از پمپ روغنی استفاده کنید و برخی اقدامات محافظتی در برابر آلودگی روغن اعمال کنید، مثلاً نصب تله سرد (cold trap)، تله محافظ روغن، صفحه مانع و غیره که میتواند به نیازهای خلأ تمیز دست یابد.
- ترکیب گازهای تخلیهشده را بشناسید. بررسی کنید که آیا گاز شامل بخار قابل تراکم، ذرات، گرد و غبار یا مواد خورنده است یا خیر. هنگام انتخاب پمپ خلأ، باید ترکیب گاز را بدانید و پمپ مناسب را بر اساس گازهای تخلیهشده انتخاب کنید. اگر گاز شامل بخار، ذرات یا گازهای خورنده باشد، باید در نظر داشته باشید که تجهیزات کمکی مانند: کندانسور، جمعآورنده گرد و غبار را در لوله ورودی پمپ نصب کنید.
- هنگام انتخاب پمپ خلاء با آببندی روغنی، باید تأثیر آن بر محیطزیست ناشی از بخار روغن خارجشده از پمپ خلاء در نظر گرفته شود. اگر آلودگی ناشی از بخار روغن مجاز نباشد، باید از پمپ خلاء بدون روغن استفاده کرد یا بخار را به بیرون از اتاق هدایت نمود.
- اینکه آیا ارتعاشات ایجادشده در حین کار خلاء، بر فرآیند تکنولوژیکی و محیطزیست تأثیر میگذارد یا خیر. اگر فرآیند تکنولوژی اجازه نداشته باشد، باید از پمپ بدون ارتعاش استفاده کرد یا اقدامات لازم جهت جلوگیری از ارتعاش انجام شود.
- قیمت، هزینه عملیاتی و هزینه نگهداری و تعمیر پمپ خلاء
با در نظر گرفتن تمامی شرایط فوق، راهحل مناسبی برای خود انتخاب کنید.
(1) پایینترین هزینه سرمایهگذاری.
(2) پایینترین هزینه عملیاتی تولید
(3) راهحل امکانپذیر پس از در نظر گرفتن دو شرط فوق
محدوده بهترین کارکرد برای پمپ خلاء
نوع پمپ |
pump مکانیکی با آببندی روغنی |
ejector جت بخار آب |
پمپ ریشهای |
پمپ بوستر روغنی |
پمپ پخش روغنی |
محدوده کار بهینه (پاسکال) |
10²–10 |
10⁵–10² |
10²–1 |
1–10⁻¹ |
5×10⁻²–10⁻⁴ |
قوانین و فرمولها
1. سرعت پمپاژ اولیه پمپ روتز
S=(0.1~0.2)S{Roots}
انتخاب سرعت پمپاژ پمپ خلاء اولیه
S=Q1/P{forepumping}
S=2.3Kq* V*lg(Pa/P{forepumping}/t
- سرعت مؤثر پمپاژ پمپ مکانیکی (L/s)
- سرعت مؤثر پمپاژ پمپ روتز (L/s)
- نرخ نشت سیستم خلاء (Torr-L/s)
- درجه پیشخلاء باید به این مقدار برسد (Torr)
- حجم سیستم خلاء (L)
- زمان مورد نیاز برای رسیدن به P{Forepumping}.
- فشار جوی (تور)
- موارد مربوط به فشار P تحت ضرایب تصحیح و مقادیر انتهایی تجهیزات
